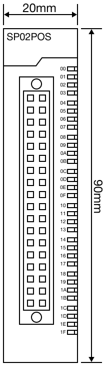
CM3 ModulesPositioningDimensionsOn this pageCM3 Positioning Module DimensionsCM3-SP02POS Front-Facing Side